Alegerea întrerupatoarelor
Date consumatori: puterea , tensiunea ,randament, cosφ simultaneitatea functionarii etc si instalatie curentul de scurtcircuit se determina curentul nominal si de scurtcircuit ce este vehiculat prin aparat
· Alegerea capacitatii de rupere
Capacitatea de rupere a unui intreruptor se determina din calculul curentilor de scurtcircuit si reprezinta valoarea efectiva a celui mai mare curent întrerupt de aparat
Cunoscând capacitatea de rupere functie de tipul consumatorului (tensiune de utilizare si curentul nominal al acestuia) se poate alege gama de intrerupatoare rezultat al intersectiei capacitatii de rupere cu valoarea curentului nominal

curent nominal
· definirea tensiunii nominale de utilizare ce se alege functie de valoarea nominala a tensiunii de linie a retelei. Aceasta reprezinta tensiunea dintre caile de curent si poate avea valoarea 60, 250, 380, 500, 660, 800, 1000Vef.
· alegerea curentului maxim suportat de aparat (practic tipul aparatului). Curentul nominal al întrerupatorului reprezinta valoarea efectiva a curentului suportat de aparat timp de 8h fara ca încalzirea cailor de curent sa depaseasca limita admisa
· Întrerupatorului echipat cu declansatoare electromagnetice si declansatoare termice i se alege, in functie de curentul consumatorului, curentul de reglaj termic IR ≥In si curentul declansatorului electromagnetic Im ( în general valoarea curentul declansatorului electromagnetic Im este de 10IR pentru protectie motoare , iar întrerupatoare pentru distributie au gama de reglaj 4-10IR)
· alegerea tensiunii de comanda (numai pentru întrerupatoarele actionate cu electromagneti sau motor electric) ce reprezinta valoarea efectiva a tensiunii ce se aplica blocului de comanda. Valorile acestor tensiuni sunt standardizate putând efectua comanda atât în c.a. cât si în c.c. 24, 48, 110, 380, 500 Vc.a. respectiv 24, 48, 60, 110, 220, 440 Vc.c.
Din punct de vedere al capacitatii de rupere avem 4 mari categorii:
1.Întrerupatoare cu capacitate mica de rupere Cr< 5KA cunoscute sub denumirea de întrerupatoare automate mici sau întrerupatoare pentru instalatii interioare;
2.Întrerupatoare compacte (trifazate) cu capacitate medie de rupere
3.Întrerupatoare de mare putere de rupere Cr>50KA
4.Întrerupatoare limitatoare ce acopera întreaga gama a capacitatilor de rupere CrÎ(1 - 200)KA.
Întrerupatoare automate mici au capacitate de rupere sub 3-5 KA si pot fi regasite în c.a si în c.c. pentru curenti nominali cuprinsi în gama de reglaj: 0,5; 1; 1,6; 2; 2,5; 3,2; 6; 10; 16; 20; 25; 32 A. 63A Variantele constructive sunt de tip monopolar, bipolar si tripolar ,echipate cu DT si DE (in gama (3-5)In sau (5-10)In) si/sau


Intrerupatoare automate mici
Întrerupatoarele compacte fabricate în tara noastra AMRO si USOL. având capacitate de rupere cuprinse între 3-25KA;
a) Întrerupatoarele compacte de tip AMRO reprezinta o serie modulara completa în carcasa izolata pentru receptoare si linii de c.a. cu valori nominale ale curentului cuprinse între 10 - 400 (630, 800, 1000)A. Aparatele din gama AMRO pot fi echipat cu protectie la :
· suprasarcina (DT) (0,67 - 1)Ir, cu Ir - curent reglat termic;
· scurtcircuit AMRO 25 - 100A reglate în domeniul (2 - 4) In si (3 - 6)In pentru AMRO 250 - 400A;
· minima tensiune (DTm) reglate în intervalul (0,35 - 0,7) b)Întrerupatoare automate compacte de tip USOL se construiesc pentru valori normale ale curentilor în gama (100 - 1000) A, comanda poate fi manuala (curenti sub 100A), cu electromagnet (250A), sau cu motor (1000).

Întreruptor compact tip USOL 250:
1 - maneta de actionare; 2 - clichet principal; 3 - clapeta de armare; 4 - biela I; 5 - biela II; 6 - echipaj mobil; 7- element mobil de contact; 8 - element fix de contact; 9 - resort principal; 10 - clapeta ax declansator; 11 - declansator termic; 12 - buton de reglaj {0,8 ... 1) Ir; 13 - miez fix pentru declansatorul electromagnetic; 14 - axul suport al echipajului mobil; 15 - carcasa aparatului; 16 - placa de prindere; 17 - borne de bare; 18 - camere de stingere cu placi feromagnetice; 19 - armatura mobila a declansatorului electromagnetic; 20 - axul declansatorului; 21 - clichet mic
Camera de stingere a întreruptorului compact este construita pe principiul efectului de electrod, cumulat cu efectul de nisa.


Camerele de stingere dimensionate la 500 V pentru întreruptoarele compacte tip USOL
Curentul nominal
[A]
|
Curentul de rupere
KA.ef
|
Volumul1)
camerei de stingere
cm3
|
Numarul de placi
|
Grosi mea unei placi
|
Material pentru placa si tratamentul
|
Material pentru contacte
|
100
|
8
|
58,7
|
8
|
1,5
|
Ol zincat
|
Ag-Ni2)
|
250
|
10
|
92,5
|
11
|
1,5
|
pasivizat
|
Ag-Ni*)
|
500
|
20
|
299
|
12
|
1,5
|
Ag-Ni»)
| |
800
|
25
|
363
|
20
|
2
|
Ag-No *)
|
1) pe un pol; 2) un deget pe element; 3) doua degete pe element; 4) doua degete pentru contact
permanent + un deget pentru contact de arc.
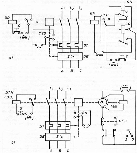
Schema electrica completa este functie de varianta constructiva si de tipul actionarii. Spre exemplificare se prezinta schema electrica a întrerupatorului USOL actionat cu electromagnet si respectiv motor.

USOL actionat cu electromagnet si motor
DT - declansator termic ; DE - declansator electromagnetic ; CFC - contact de fine cursa ; M - motor de actionare ; Fem - frâna electromagnetica ; CC - contactor de comanda ; RB - releu de blocaj ; I,O - butoanele de comanda a închiderii si deschiderii
Trimiteți un comentariu
Site-ul tau preferat!