CONTOARE DE ENERGIE ELECTRICA ACTIVA
Pentru masurarea cantitatii de energie electrica de curent alternativ se folosesc contoare bazate pe inductia electromagnetica.
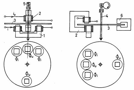
Un contor de inductie (fig. 4.12) este alcatuit din: un electromagnet 1 conectat in serie cu consumatorul, un electromagnet 2 conectat in paralel cu acesta, un disc de aluminiu 3 montat pe un ax vertical 4, sprijinit pe lagare, avand la capat un angrenaj melcat 5, un magnet permanent de franare 6 si un mecanism integrator cu decade pentru totalizarea turatiei discului si afisarea cantitatii de energie consumata.
La conectarea contorului la circuitul electric al consumatorului, prin bobina 1 ia nastere curentul i, dependent de consumator, curent care produce fluxul magnetic Fi proportional cu i. Acest flux strabate discul 3 in doua locuri, iar variatiile lui produc in disc curentii turbionariI1 (fig. 4.12).
In acelasi timp, prin conectarea contorului in circuitul electric, tensiunea U se aplica la bornele bobinei 2 si astfel ia nastere curentulIU care produce in miezul electromagnetului 2 fluxul magnetic FUproportional cu tensiunea U. Variatiile acestui flux, care strabat discul 3, produc in acesta curentii turbionari I2.
Curentii turbionari I1 ai discului trecand pe sub polul electromagnetului 2 actioneaza reciproc cu fluxul magnetic al acestuiaFU. In mod similar, curentii turbionari I2, trecand pe deasupra polilor electromagnetului 1, actioneaza reciproc cu fluxul magnetic Fi. In urma acestor interactiuni, intre curentii turbionari si fluxurile magnetice se creeaza un cuplu motor (fig. 4.12), care la contoarele de energie activa este proportional cu puterea activa a circuitului, adica:
unde k este un factor specific aparatului, determinat de particularitatile lui constructive.
Sub actiunea acestui cuplu, discul contorului incepe sa se roteasca. In acelasi timp apare si un cuplu de franare a rotirii discului, produs de actiunea reciproca dintre fluxul FF al magnetului de franare si curentii IF indusi in disc in timpul rotirii acestuia.
Cuplul de franare este:
. (4.54)
Valoarea curentilor turbionari IF este proportionala cu t.e.m indusa in disc (IF = Ei / rad), iar aceasta din urma este proportionala cu valoarea fluxului FF si cu turatia discului n, asa incat:
unde k2 = k'k''FF2/rad este factorul de proportionalitate specific fiecarui tip de contor.

Fig.4.12. Contorul de energie electrica activa.
In general, in afara de cuplul de franare principal MF in contorul de inductie se mai creeaza inca doua cupluri de franare:
– unul, MFU, datorat actiunii reciproce dintre fluxul FU si curentii turbionari indusi in disc, din cauza ca discul in rotatia lui intersecteaza fluxul FU;
– celalalt, MFI, datorat actiunii reciproce dintre FI si curentii turbionari indusi in disc.
Pentru ca acest cuplu de franare rezultant sa depinda cat mai putin de fluxurile Fi si FU aceste fluxuri se aleg mici in comparatie cu fluxul de franare FF, ca sa poata fi neglijate.
Daca pe timpul masurarii puterea consumata ramane constanta in contor se stabileste o viteza de rotatie constanta a discului, pentru care M = MF. Prin urmare, k1P = k2n de unde se deduce:
Rezulta ca puterea P este proportionala cu turatia discului si ca energia consumata in timpul t este
unde N este numarul de rotatii ale discului in timpul t, iar C este o constanta specifica fiecarui tip de contor, care se numeste constanta reala a contorului si exprima energia consumata de la retea pe durata unei rotatii a discului (k = W/ N).
Numarul de rotatii efectuate de discul contorului sunt contorizate de catre un dispozitiv mecanic sau electronic. In cazul contorizarii mecanice (fig. 4.13), miscarea discului contorului se transmite printr-un angrenaj melcat la mecanismul integrator alcatuit din 4 – 6 role pe ale caror suprafete sunt gravate cifrele de la 0 la 9. Rolele se rotesc liber pe axul A. Prima rola, cu cel mai mic rang, din dreapta, este solidara cu roata dintata a reductorului de turatie si se roteste in acelasi timp cu discul contorului. O rotatie a acestei role provoaca o rotire cu 1/10 a rolei de rang superior, iar aceasta la randul ei provoaca o rotire cu 1/10 a rolei de rang mai inalt s.a.m.d.

Fig.4.13. Contor mecanic de rotatii.
Rolele sunt incorporate intr-o carcasa prevazuta cu o fereastra prin care se pot citi cifrele, cate o cifra a fiecarei role, numarul format din aceste cifre reprezentand cantitatea de energie contorizata de aparat.
Eroarea de masurare absoluta a contorului este exprimata de diferenta dintre cantitatea reala de energie consumata si cantitatea de energie afisata de contor, adica DW = Wr - Wm . Eroarea relativa a acestuia este data de relatia:
unde Cr este constanta reala a contorului, Cm este constanta ipotetica iar N este numarul de rotatii efectuate.
Sursa:http://www.scritub.com/stiinta/fizica/CONTOARE-DE-ENERGIE-ELECTRICA-91541.php
Trimiteți un comentariu
Site-ul tau preferat!